【人気のミッションスクール】東洋英和女学院中学部の算数の特徴を徹底解説!
Contents
入試情報
問題構成
東洋英和女学院中の算数は、試験時間が45分で、大問9~10問・小問20問程度で構成されている傾向にあります。手の込んだ解法が必要となるような応用問題の割合は少ないですが、試験時間の割に問題数が多いため全ての問題を解き終えるためにはかなりの実力を身につける必要があります。
解答形式
東洋英和女学院中の算数は解答用紙がないことが特徴的です。受験者は問題用紙に直接解答を書き込む必要があります。答えそのものだけではなく、答えを導くまでの計算式や考え方なども問題用紙に書き込むため、解答だけではなく考え方も採点の対象となる可能性があります。
また問題用紙に直接解答を書き込むため、筆算など計算をするために使う余白が少ないことにも注意しなくてはなりません。
近年の出題内容
- 2019年度
| 分野・単元 |
| 〈大問1〉計算問題 |
| 〈大問2〉一行問題 |
| 〈大問3〉平面図形 |
| 〈大問4〉立体図形 |
| 〈大問5〉割合と比 |
| 〈大問6〉縮尺・比例 |
| 〈大問7〉比の性質 |
| 〈大問8〉約束記号、整数の性質 |
| 〈大問9〉速さ |
- 2018年度
| 分野・単元 |
| 〈大問1〉計算問題 |
| 〈大問2〉一行問題 |
| 〈大問3〉平面図形 |
| 〈大問4〉割合と比 |
| 〈大問5〉つるかめ算 |
| 〈大問6〉調べ |
| 〈大問7〉立体図形–展開図 |
| 〈大問8〉旅人算 |
| 〈大問9〉水の深さと体積 |
| 〈大問10〉約束記号 |
- 2017年度
| 分野・単元 |
| 〈大問1〉計算問題 |
| 〈大問2〉一行問題 |
| 〈大問3〉平面図形 |
| 〈大問4〉速さ |
| 〈大問5〉文章題 |
| 〈大問6〉割合と比 |
| 〈大問7〉立体図形 |
| 〈大問8〉ニュートン算 |
| 〈大問9〉不定方程式 |
出題傾向
概要
- 【過去8年間の出題率ランキング】(配点基準)
- 1. 図形
- 2. 割合と比
- 3. 計算
- 4. 速さ
- 5. 和と差
- 後半の方が難易度が高い傾向
東洋英和女学院中の算数は、大問9~10問・小問20問程度で構成されています。問題数が比較的多い割に試験時間が短く、全ての問題をこなすことは簡単ではありません。
また問題の難易度は全体的に易しめで、高度な発想や手の込んだ解法が必要となるような問題が出題されることはあまりありません。前半の問題、特に大問1・2は基本的な四則計算や応用小問などが数問出題されており、難易度は比較的易しめですが、後半になるにつれて難易度が上がっていく傾向にあります。 - 独自の解答形式
東洋英和女学院中の算数は、独自の解答形式が特徴的です。一般的な入試では問題用紙と解答用紙が別々に渡される場合が多いですが、当校の算数では問題用紙のみが配布されます。受験者は問題用紙内の与えられたスペースに一連の考え方・計算式・解答を全て書き込む必要があります。計算に使える余白が十分にあるわけではないため、解答に必要と考えられる部分を選んでいかなければなりません。 - 出題範囲はほぼ全ての単元から
東洋英和女学院中の算数は、ほぼ全ての単元から満遍なく出題されていることが特徴的です。ここ最近の大問1は四則計算から出題されていますが、大問2以降の問題は幅広い範囲から出題されています。
またそれぞれの問題も、ある特定の分野についての詳しい知識を問うというよりは、各単元の基本的な理解を問うような問題が多く出題されています。
内容
- 【頻出分野】
- 図形
角度・面積・長さ・辺の比と面積の比・相似・水の深さと体積・体積・表面積・展開図・点の移動・図形の移動・表とグラフ - 割合と比
割合と比・正比例と反比例・比の性質・還元算・相当算・ニュートン算 - 計算
四則計算・逆算・計算の工夫・単位の計算 - 和と差
和差算・分配算・つるかめ算 - 場合の数
調べ・推理・条件の整理 - 数の性質
約束記号・文字式・約数と倍数
- 図形
- 出題分野
- 東洋英和女学院中の算数は幅広い単元から出題されていますが、その中でも計算・図形・割合と比は頻出です。
- 計算からは四則計算・逆算・計算の工夫・単位の計算などがよく出題されており、ほぼ毎年の問題で大問1に3問ほど四則計算の問題が設けられています。
- 図形からは、面積・体積・長さ・角度・縮尺を求める問題や、展開図を用いた問題などが出題されています。また、相似比や面積比、体積比なども頻出なので、割合と比の考え方もしっかり理解しておく必要があります。頻度はそこまで高くはありませんが、作図問題が出題されることもあります。
- 難易度について
- 東洋英和女学院中の算数は、試験時間の割に総設問数が多いことが特徴的です。45分で20問程度の問題をすべて解き終えることは簡単ではありませんが、当校の算数は応用問題の出題が少なく、単元についての基本的な理解を問う問題がほとんどです。そのため、高度なひらめきや解法についての知識がなくても、それぞれの単元についての知識をまんべんなく身につけていれば解くことができるような問題になっています。
- 近年の傾向として、大問9~10問のうち、大問1は四則計算のような基礎的な問題、大問2は応用小問が出題されていることが挙げられます。はじめの2問は難易度が易しめで得点しやすいのに対し、大問3以降は少しずつ難易度が上がっていく傾向が見られます。
- また、当校の入試は総合得点が320点であるのに対し、算数の配点は100点とほぼ3分の1であり、算数の配分が比較的高いです。そのため算数の得点が合否を分けると言っても過言ではないでしょう。
対策
分野別
対策方法ですが、まずは標準レベルの問題集を繰り返し解いて典型問題に一通り触れましょう。当校の算数は高度なひらめきや解法を必要とするようなひねりのある問題ではなく、その単元に関する基本的な理解を問う問題が出題されやすいため、各単元の典型問題を一通り解けるようにしておくことが効果的です。
- 図形問題対策
東洋英和女学院中の算数は幅広い単元からまんべんなく出題されていますが、そのなかでも図形問題は出題頻度が高く、角度・長さ・辺の比と面積の比・相似・面積・体積など様々な問題が出題されています。
問題の難易度は標準的なレベルの問題が多く、高度な解法や癖のある出題はあまり見られません。まずは標準的なレベルの問題集を繰り返し解き、典型問題を一通り理解したあとで、過去問演習に入りましょう。
また、図形のなかでも相似比・面積比・体積比を利用する問題が頻出です。これらの問題は、図形と同じく頻出の「割合と比」の考え方を理解していないと解くことができません。合わせて対策しておきましょう。 - 割合と比対策
当校の算数では図形問題の次に割合と比の問題が頻出です。なかでもニュートン算がよく出題されます。なかでもここ最近ではグラフと関連づけた問題が多いです。
例えば水そうの中の水の量と時間の変化の関係を表すグラフに関する問題などが出題されています。このようなグラフを利用するニュートン算の問題は鷗友学園女子中学校、白百合女子学園中学校でも頻出なので、合わせて過去問演習を進めていくと良いでしょう。
割合と比対策も図形対策と同じように、標準的なレベルの問題を繰り返し解き、典型問題を一通り頭に入れていくと良いでしょう。 - 計算対策
近年、当校の算数では大問1に計算問題が出題されています。毎年四則計算の問題が3問程度出題されており、難易度も易しめであるため必ず得点しておきたい問題です。
計算問題の対策としては、一度に大量の問題を解くというより、コツコツ少量の問題をこなしていく方が効果的です。計算問題のみを集めた問題集やドリルなども各出版社から発売されているので、自分の好きなものを1冊購入し、毎日3~5 問程度のペースで進めていくと良いでしょう。
その際ただがむしゃらに解くというより、入試本番と同じように慎重に解き、解き終えた後も検算をして計算ミスを減らす努力をしましょう。
合格点を取るには
独自の解答形式に慣れる
東洋英和女学院中の算数は、解答用紙が問題用紙とは別に配布されるのではなく、問題用紙に回答を直接書き込む独自の解答形式が特徴的です。そのため解答を導くまでの一連の考え方や、計算式なども全て問題用紙内のスペースに収めなければいけません。
問題用紙内のスペースもそこまで広い訳ではないので、筆算などの計算式を全て残してしまうと解答が全て収まりきらない可能性があります。解答に必要な計算式を取捨選択しつつ、論理的で分かりやすい説明を心がけなければなりません。
解く順番に注意
近年の傾向を見てみると、後半の大問ほど難易度が高くなることが多いです。全体的に易しめな前半の問題の中でも、大問1・2は四則計算や一行問題など基本的な内容の問題で構成されているので、最初に取り組み確実に得点できるようにしましょう。
大問3以降は様々な単元から出題されており、試験時間に余裕がある訳でもないので、自分の得意な分野から解き進めるのが効率的です。まず試験時間が始まったら全ての問題にざっと目を通し、解法の分かりやすい問題を先に、時間のかかりそうな問題を後から解くようにしましょう。
入試問題に挑戦!
平成29年度7(一部改題)
- [問題]
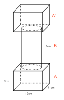
下図は,形も大きさも同じ直方体と円柱を組み合わせた形の容器です。この容器に水を3L入れると,底面から水面までの高さは何cmになりますか。小数第2位を四捨五入して答えなさい。但し,円の半径を5cm,円周率は3.14とします。
- [解説]
- <方針>: 各立体の体積を求め, どの辺りで3Lとなるのかを考える.
まず, Aの直方体の体積を求めると, 12×11×8=1056㎤
次に, Bの円柱の体積を求めると, 5×5×3.14×16=1256㎤
また, 3L=3000㎤より, 水はA’の直方体まで入るとわかる.
A’にの直方体に入る水は, 3000-(1056+1256)=688㎤なので,
688÷(12×11)=5.21212121・・・≒5.2(小数第2位を四捨五入)
底面積
よって, 水位は, 8+16+5.2=29.2㎝となる。
足し忘れに注意!
- <方針>: 各立体の体積を求め, どの辺りで3Lとなるのかを考える.
A. 29.2㎝
令和1年度6(一部改題)
- [問題]
ある正方形の面積は2209㎠です。この正方形の1辺の長さを求め,求めた過程を(説明)の文章に続けて書きなさい。
(説明)正方形の面積は,1辺の長さを2回かけて求められる。
- [解説]
- <方針>: 説明の出だしを利用し, 数に”あたり”をつける.
(説明)正方形の面積は,1辺の長さを2回かけて求められる。
また, 面積の下1桁が3なので, 元の数の下1桁は3か7とわかる.
3×3=9, 7×7=49以外に9は作れない!
更に, 40×40=1600, 50×50=2500より, 2209は43×43か47×47とわかる.
実際に計算すると, 43×43=1849, 47×47=2209なので,
正方形の1辺の長さは47㎝となる.
- <方針>: 説明の出だしを利用し, 数に”あたり”をつける.
A. 47㎝
総括
今回は東洋英和女学院中の算数入試対策についてご紹介しました。当校の算数は大問数が9~10問、小問が20問程度と比較的多いのに対し、試験時間は45分と時間に余裕があまりないことが特徴的です。
しかしそれぞれの問題を見てみると問題集の基本〜標準レベルの問題が並んでいることがほとんどで、特別な解法や高度なひらめきを必要とするような応用問題が出題されることは少ないです。
また様々な分野からまんべんなく出題されており、特定の単元に関する詳しい知識を問う、というより各単元の理解をまんべんなく問うような問題が多く出題されています。そのため、算数において苦手分野があるかどうかで大きく点差が開くような内容になっており、この点差が合否を決めると言っても過言ではありません。苦手な単元がある場合は放置せず、基礎から復習して必ず克服するようにしましょう。
入試本番まで時間は限られていますが、他科目とのバランスを考えつつ、優先順位に気をつけながら最大限の対策をしましょう。
おすすめ記事
- 【人気のミッションスクール】東洋英和女学院中学部の学校情報や評判を徹底解説!
- 【人気のミッションスクール】東洋英和女学院中学部の理科の特徴を徹底解説!
- 【人気のミッションスクール】東洋英和女学院中学部の社会の特徴を徹底解説!
参考
- 2019年 東洋英和女学院高等部 東大・京大・難関大学 合格者数|inter-edu
- 学校説明会|説明会・公開行事|東洋英和女学院 中学部・高等部
- 募集要項|入試情報|東洋英和女学院 中学部・高等部
- 声の教育者


