國學院大學久我山中学校-2019年度算数大問4(1)〜(4)水の深さと体積-過去問解説
Contents
問題
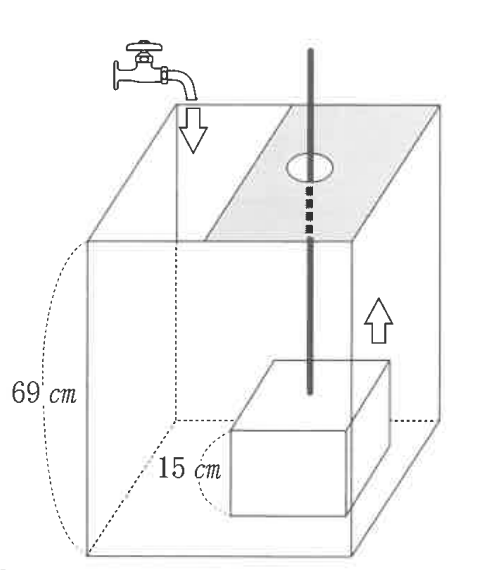
底面の面積が2000㎠、高さ69cmの直方体の形の水槽があります。この中に、底面の面積が500㎠、高さ15cmの直方体のおもりがおいてあり、上部にひもがついています。この水そうの中へ、上から毎秒3600㎤の水を入れていきます。水を入れ始めてから、しばらくしておもりを傾けずに毎秒5cmずつ一定の速さで引き上げ、水そうの上のふたの部分におもりがぶつかるまで引っ張りました。下のグラフは、水を入れ始めてから満水になるまでの時間と水面の高さの関係を表したものです。このとき、次の問いに答えなさい。
- (1)おもりを引き上げ始めたのは、水そうに水を入れ始めてから何分後ですか。
- (2)グラフのアの間では、水面は1秒ごとに何cmずつ上昇していますか。
- (3)おもりを引き上げている途中で、おもりのそこと水面が同じ高さになったのは水を入れ始めてから何秒後ですか。
- (4)
- ①グラフのAに当てはまる数はいくつですか。
- ②グラフのBに当てはまる数はいくつですか。
解説
(1)グラフの読み取り
おもりを引き上げ始めるのは、グラフにはじめの変化があった地点なので、水深が12cmに達した時点だとわかります。
それまで何秒かかるか計算すると、はじめのグラフでは1秒間で、
\((2000-500) \times 12=18000\)
より、180000㎤分の水が入ったことが分かります。
そして、蛇口から1秒間に3600㎤の水が入っていきますから、
\(18000 \div 3600=5\)
より、5秒後におもりを引き上げ始めたとわかります。
答え:5秒後
(2)グラフの読み取り
おもりが上がって行くことにより減る体積を考えると、1秒間でおもりが占めていた体積は、
\(5 \times 500=2500\)より、2500㎤であり、そこに蛇口から3600㎤の水が入っているので、
\(3600-2500=1100\)
より、1100㎤の水が入り込んでいるのと同じになります。
以上から、
\(1100 \div 1500= \frac{11}{15}\)
より、毎秒\(\frac{11}{15}\)cmずつ上昇しているとわかります。
答え:\(\frac{11}{15}\)cm
(3)少し複雑な旅人算
(2)で水面が毎秒\(\frac{11}{15}\)cmずつ上昇していくことがわかったので、毎秒5cmで上昇していくおもりと12cmの差を解消するためには、
\(12 \div (5- \frac{11}{15}\)
\(=2\frac{13}{16}\)
より、\(2\frac{13}{16}\)秒必要だとわかります。
ここで問題を確認すると、問われているのは、水を入れ始めてからの経過時間なので、おもりを引き上げるまでにかかった5秒を加えて、\(7\frac{13}{16}\)秒後となります。
答え:\(7\frac{13}{16}\)秒後
(4)①グラフの読み取り
時間がAまで経過したとき水面は、上まで到達しているおもりの底面とぴったりくっついている状態になるので、このことを使うと、
\(A=54 \times 2000 \div 3600=30\)
より、30秒とわかります。
答え:\(A=30\)
(4)②グラフの読み取り
Bまで行ったとき、水槽の中は水で満たされています。つまり、水槽からおもりの体積分を引いたものが、立体に入っている水の体積となるので、
\(B=(69 \times 2000-15 \times 500) \div 3600\)
\(=36\frac{1}{4}\)
より、\(36\frac{1}{4}\)秒とわかります。
答え:\(B=36\frac{1}{4}\)
おすすめ記事
- 夏期講習までに押さえておくべき算数の基礎 その2 速さ
- 往復の平均の速さ、間違えずに求められますか?
- 「旅人算」の解き方を問題で学ぼう![出会い・追いかけ・3人旅人算]
- グラフが登場する旅人算の解き方を問題集形式でご紹介!
- 「流水算」でつまずかない考え方とは?解き方が身につく練習問題付き!
参考
無料でご相談いただけます
受験や学習に関するお悩み・ご質問はお気軽にご相談ください。
専任スタッフが一人ひとりに合った学習プランをご提案いたします。

